
Poste autoradio, GPS, ampli, HP, problèmes de matériel, installation d’écran TV/TNT, cameras de recul ainsi que toutes les versions du PCM (Porsche Communication Management).
Sam 4 Sep 2021, 16:08
Votre PCM est bloqué sur une date et vous ne pouvez plus accéder au menu permettant de faire la correction !
Ce qui suit est pour vous !
Le principe:
Le lecteur GPS a dépassé son temps de comptage de la date et cache le menu (dans le PCM) pour faire le réglage de celle-ci.
La méthode :
Sortir le lecteur GPS (CD ou DVD) de la boucle des indicateurs gérés par le PCM, soit en supprimant son alimentation ou en le déconnectant de la boucle fibre.
- Arrêter le PCM.
- Le plus simple est de supprimer son alimentation en enlevant le fusible N°9 dans le boitier droit du tableau de bord en ce qui concerne un lecteur GPS / DVD qui se trouve généralement sous le siège du passager avant.
- Redémarrer le PCM et accéder au menu réglage Date/Heure puis au menu Date ! Et là on retrouve la possibilité de régler la date : Jour, mois et année.
- Arrêter à nouveau le PCM, remettre le fusible et redémarrer le PCM: La bonne date est toujours là.
C'est fini !
Sam 4 Sep 2021, 17:46
Dois je retirer le fusible 9 avec le poste allumé ou dois je couper le contact ou éteindre le poste ?
Ce forum est une bible, merci pour l’info j’essaie dans la soirée.
Sam 4 Sep 2021, 19:04
Par principe, toute manipulation sur un circuit électrique se fait à minima contact coupé.
En ce qui concerne le PCM, je l'éteins avant de couper le contact, j'enlève le fusible, puis je le rallume lorsque le contact est mis (pour faire cette opération).
Pour remettre le fusible, je procède contact coupé.
Dim 5 Sep 2021, 08:34
Merci je à toi.
J'essaie dans la matinée.
Dim 5 Sep 2021, 11:56
Merci à toi pour les photos, les explications et le partage!
Lun 25 Oct 2021, 09:31
Salut salut…
Je viens d’essayer et malheureusement ça ne fonctionne pas.
J’ai pourtant bien enlevé le fusible 9 comme tu dis, contact éteint et tout et tout. Rien ne se fait.
As-tu une idée ?
Lun 25 Oct 2021, 10:57
Bonjour,
Tu as bien un PCM 2.1 avec lecteur DVD du GPS sous le siège passager ?
Lun 25 Oct 2021, 11:25
L’Histoire à propos des mises à jour de la date sur les anciens GPS.
Reportons-nous au 6 avril 2019, les anciennes unités GPS peuvent rencontrer une série de problèmes en raison d'une limitation dans la façon dont elles gèrent les dates. Ces problèmes peuvent inclure l'impossibilité de recevoir des données de localisation. Il s'avère que la façon dont les dates sont stockées dans les anciennes unités GPS a un cycle de 20 ans environ et nous sommes sur le point de vivre le deuxième depuis la mise en ligne des constellations GPS.
Le cycle s'est produit pour la dernière fois en 1999, mais au cours des 20 dernières années, l'utilisation et la dépendance au GPS ont considérablement augmenté.
Le problème sous-jacent provient de la façon dont les unités GPS stockent les dates. La spécification originale du GPS comportait des dates stockées par semaine dans un champ de 10 bits (2^10 ou 2x2x2x2x2x2x2x2x2x2), soit 1 024 semaines. 1024 semaines, c'est 19 ans, 36 semaines. Les dates de la constellation GPS commencent à minuit le 5 janvier 1980, donc le premier cycle a eu lieu le 21 août 1999. Le 06 avril 2019, 19 ans et 36 semaines plus tard, la même chose s’est reproduite.
Lun 25 Oct 2021, 11:29
Il y a bien eu le bulletin #1904 qui abordait le sujet mais sans donner de solution
Lun 25 Oct 2021, 14:02
Merci Jacques pour ces explications et la solution apportée !
Lun 25 Oct 2021, 14:27
bisounours a écrit:Bonjour,
Tu as bien un PCM 2.1 avec lecteur DVD du GPS sous le siège passager ?
Oui oui absolument …
Lun 25 Oct 2021, 15:45
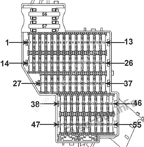
Tu es bien sur le boitier de fusibles à droite, coté passager, là où il y a le contact à clé pour l'airbag ?
Tu dois voir ce boitier et le 9éme fusible fait 5A (dans l'ordre du dessin ci-joint).

- Boitier coté passager
- Porsche-Cayenne-9PA_E1-2003-2010_in_R.jpg (75.26 Kio) Vu 10819 fois
Lun 25 Oct 2021, 18:58
Bon beh tout s’explique, j’étais sur les fusibles côté conducteur .
J’ai jamais vu autant de fusibles dans une voiture
Merci pour tes détails précis et ton savoir, demain je m’y colle et je te tiens au courant !!
Mer 27 Oct 2021, 11:42
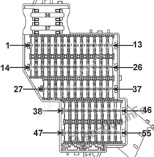
bisounours a écrit:Tu es bien sur le boitier de fusibles à droite, coté passager, là où il y a le contact à clé pour l'airbag ?
Tu dois voir ce boitier et le 9éme fusible fait 5A (dans l'ordre du dessin ci-joint)
Ça y est c’est fait . Ça marche .. génial .. merci à toi !
Mon écran d’accueil a une meilleure mine maintenant
Mer 27 Oct 2021, 12:50
Je confirme, facile et rapide et ça fonctionne parfaitement.
Merci encore Jacques !
Mer 27 Oct 2021, 14:11

- Porsche-Cayenne-9PA_E1-2003-2010_in_R.jpg (75.26 Kio) Vu 10736 fois
[quote="bisounours"]
Ven 29 Oct 2021, 17:27
Bonjour
Merci Bisounours pour l'astuce qui marche nickel : on retrouve tous une vrai date à nos PCM ^^
Lun 3 Jan 2022, 10:48
Bonjour,
Bonne année !
Cela fonctionne nickel !!
Merci.
Mer 9 Fév 2022, 20:27
Bonsoir,
Chez moi cela ne fonctionne pas. Je mets le contact, j'allume le pcm la date s affiche en 2002. Je coupe le contact et retire le fusible n°9, je rallume le contact et le pcm et là, toujours impossible de modifier la date et l'année.
955 turbo de 2003 pour info
Si vous avez une idée ?
Mer 9 Fév 2022, 21:34
Bonsoir, Seb29
As-tu un PCM 2.1 ? sur un cayenne de 2003 ???
As-tu un lecteur GPS indépendant du PCM ?
Ou est-il intégré au PCM ?
Compte tenu que c'est le lecteur GPS qui est obsolète, c'est lui qu'il faut isoler du circuit pour pouvoir faire la mise à jour.
Amicalement
Mer 9 Fév 2022, 21:45
GPS intégré au pcm , dès que je retire le fusible 9, j'ai bien un message d'erreur defaut GPS.
Mer 9 Fév 2022, 21:50
L'affichage GPS est sur l'écran du PCM.
Le lecteur GPS est-il aussi dans le PCM ?
Mer 9 Fév 2022, 21:59
Sur le PCM 2.0 GPS dans le PCM avec lecteur CD.
Sur le PCM 2.1 GPS sous le siège passager avec lecteur DVD.
Powered by phpBB © phpBB Group.
phpBB Mobile / SEO by Artodia.